在智能手機日益普及的今天,手機殼已不僅僅是保護手機的配件,更是展現個性與品味的重要載體。隨著消費者對手機殼個性化需求的日...
2024-08-29墨水屏是一種采用電子墨水技術的顯示屏。電子墨水屏作為一種理想的顯示技術受到越來越多的關注和認可,市場規模不斷擴大。1、電...
2024-08-28目前,手機是人們隨身攜帶的必備用品之一,手機的相關配件和副產品也相應應運而生,其中,手機殼能夠保護手機免于劃傷,也可以用...
2024-08-2895后杭州女生小檬囤了幾十個圖案各異的手機殼,她每天會根據穿搭和心情搭配不同的手機殼,算得上是一名資深的“殼控”。如今,...
2024-08-27在科技日新月異的今天,智能穿戴設備領域正經歷著前所未有的變革與創新。近日,ZH智能科技有限公司(以下簡稱“ZH智能”)與...
2024-07-31一、引言隨著智能手機技術的不斷發展,用戶對于手機配件的需求也在日益增加。墨水屏NFC手機殼作為一種集保護手機、提供額外顯...
2024-07-20隨著科技的飛速發展,智能手機已經成為我們日常生活中不可或缺的一部分。而為了滿足用戶對于個性化和智能化的追求,各種創新的手...
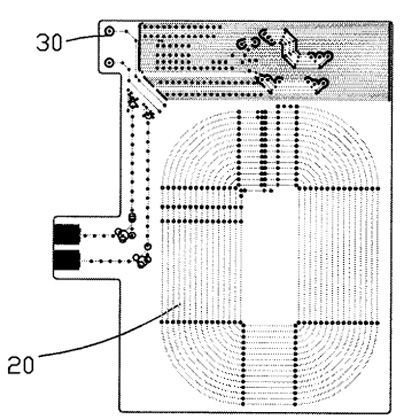
2024-07-19NFC,即近場通信(Near Field Communication),是由飛利浦和索尼這兩家移動設備巨頭聯合研發的一種...
2024-05-28NFC技術,作為近場通信的代名詞,自2003年由飛利浦和索尼聯合研發誕生以來,已經走過了二十年的發展歷程。2004年,隨...
2024-05-27









